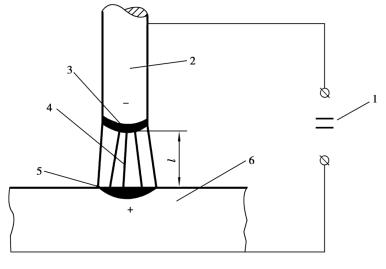
1.1.2 電弧的構造及熱與溫度的分布
焊接電弧由陰極區、陽極區和弧柱區三部分組成,如圖4.1.1所示。
(1)陰極區
陰極區是電子發射的地方。發射電子需要消耗一定的能量,所以陰極區產生的熱量不多,占電弧熱的36%。用鋼焊條焊接時,陰極區溫度約為2 400 K,用于加熱工件或焊條。
(2)陽極區
由于高速電子撞擊陽極表面并進入陽極區而釋放能量,因此陽極區產生的熱量較多,占電弧熱的43%。用鋼焊條焊接時,陽極溫度約為2 600 K,用于加熱工件或焊條。
(3)弧柱區
弧柱區指陰極區和陽極區之間的區域。由于陰極區和陽極區很窄,可忽略不計,所以常把弧柱長度(圖中4.1.1)近似地看成電弧長度。弧柱區的熱量僅占電弧熱的21%,但弧柱區溫度卻高達6 000~8 000 K,其熱
量大部分通過對流、輻射散失到周圍空氣中。

圖4.1.1 電弧的構造
1—電源(直流) 2—焊條 3—陰極區4—弧柱 5—陽極區 6—工件
1.1.3 電弧的極性
陰極區和陽極區的熱量和溫度不同,當采用直流電焊接時,便有兩種極性的接法:
①正接:工件接陽極,焊條接陰極,此時工件受熱多,宜焊厚大工件。
②反接:工件接陰極,焊條接陽極,此時工件受熱少,易焊薄小工件。
當采用交流電焊接時,因電流每秒鐘正負變化達100次,所以兩極加熱一樣,就不存在正接或反接問題。
贊 1













